ADC方向文献调查笔记
ADC Top Selection Criteria(选择标准)
-
精度,分辨率(resolution)
能精确到多少位,2^n^,n的大小(number of bits)。信号是个连续的,我们拿离散的“阶梯”去逼近这个连续的东西。比如我们要测量水的温度,0~100℃,我们拿个十位ADC,则它的分辨率是1024,即最小可以感知100/1024℃的温度变化。

-
接口(interface)
SPI(串行外设接口),I^2^C(总线)
-
性能
-
INL
积分非线性(Integral Nonlinearity,INL)是模数转换器的静态性能参数之一,是指实际转换曲线同理想转换曲线在纵轴方向的差值,单位是LSB,即最低有效位。它表示实际转换曲线偏离理想转换曲线的程度。
我给一个模拟出来的值,这个值和输入信号在y轴会有一个差值,INL是这个误差的描述。
这东西越小越好,影响的是分辨率的真实分辨率。
-
DNL
DNL(Differential Nonlinearity,差分非线性),理想刻度与实际刻度的偏差值。
这是一个和INL相对的概念,如果说ADC是一把尺子的话,INL来源于尺子刻度和度量信号的差异,那么DNL来自尺子自身的刻度。比如说精度为1mm的尺子,它两个刻度之间不一定是1mm(比如热胀冷缩什么的都会有影响)。 理想ADC的DNL = 0LSB,即尺子没误差。
-
SNDR:信号与噪声失真比,(也写作SINDR,信纳比)
是信号功率与噪声谐波功率的比值,单位为dB。
这个值越大,信号保真度越好
-
ENOB
ENOB = (SINAD-1.76)/6.02
有效位数,根据实际情况算出来的,比分辨率小一些。分辨率是理论,有效位数更接近实际。
-
-
SFDR
无杂散动态范围(Spurious-freeDynamicRange,SFDR)衡量的只是相对于转换器满量程范围(dBFS)或输入信号电平(dBc)的最差频谱伪像,是转换器的主要性能指标之一,改善转换器的无杂散动态范围对提高转换器的性能具有很重要的作用。

-
THD
总谐波失真,指输出信号比输入信号多出的谐波成分,由系统不完全线性造成的。结合信号与系统,频域上多出了那么一些东西。
-
FOM:品质因数
用于综合衡量ADC电路的性能。综合转换率,分辨率,需要的能量等产生的一个因数。
Walden FoM: 现在广泛用于衡量转换速度,分辨率,能量耗散的指标。还有Schreier FoM(DR),(SNDR)等。
-
架构/速度


-
能耗
ADC电路类型
SAR ADCs 逐次逼近寄存器型

这种有点二分法逼近的味道,理解为一个递归算法,我按照四位ADC举个例子。

四位的话我们可以把电压V分成1111~(2)~份(分成16份),这就是四位ADC能达到的最大精度。先在寄存器中取1000,即取1/2V的值,将输入信号V~in~与寄存器中的值比较大小,如果V~in~小于1/2V,则将最高位记为0,下一位取1,这时寄存器中为0100;如果V~in~大于1/2V,则取1,下一位取1,这时寄存器中为1100。类似的我们可以递归的比较下去,直到最后一位被用完,即达到最大精度。上图中的例子我们可以看见,最初寄存器的值为1000,一次比较后变为0100,第二次比较后变为0110,第三次比较后变为0101,第四次比较后变为0101,将这个值输出即可得到输入信号的近似值。
优点:逻辑简单,我这种还没补模电的都大概看得懂。对于位数较低的情况,功耗还是很小的。
缺点:由于递归的存在,每对比一次都会跑一遍电路,这就意味着精度每提高一位,都会产生一次功耗,随着采样频率的增加,这个功耗将会明显增加。整个电路的运行速率,也受限于逻辑消耗,比较器的比较时间等。随着次数的增加,DAC出点幺蛾子,准确度就会出事。
Σ-Δ
Pipelined ADC
流水线ADC,我愿意称之为套娃ADC。

先找个一位的看,我把这个比作一个“车间“。信号从左边进来,然后通过一个1 bit的flash ADC,识别第一位是高还是低。然后这个ADC会输出1或者0的数字信号,我们把这个信号输出,同时输入进一个DAC,即产生一个标准的1或者0对应的模拟信号,我们用原信号把这个产生的模拟信号相减,然后通过放大器x2,输出给下一个Pipelined ADC。下面这幅图形象的展示了这个过程。

这个例子给了个0.7V的模拟信号,然后0.5V是第一个ADC的精度,产生了一个1,然后0.7-0.5=0.2,0.2x2=0.4,输入给下一个,0.4<0.5,输出0,然后0.4-0=0.4,0.4x2=0.8······很多的”车间“连成流水线,无限套娃理论上可以无限去逼近真实值。现实中我们通常把这个一位的换成3位的,这样一次处理就可以多产生好几位,如下图。

由于每个流水线上的“车间”(阶段,stage)处理有个先后顺序,我们把这几个3bit的输出拿一个模块进行调整,甚至利用数字算法纠错,最后整合出一个完整的数字信号。
优点:从原理图上看,Pipelined ADC可以达到一个较高的精度。在速度,精度,功耗上都比较均衡。据说体积还挺小的,所以很受欢迎。
缺点:如果每一个“车间”都因为器件,环境的因素产生一点点误差的话,这个误差会随着每一级的放大而叠加,最后在某个位置产生足够大的误差使得结果出错。每个”车间“的误差限制了ENOB。要减小这个误差,我们嘚在每一个”车间”,或者通过后面的数字算法上下功夫(而纠错又会影响速度,只能根据需求不断平衡咯)。
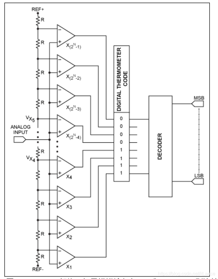
Flash ADCs


这是一个3bit的闪存ADC,输入信号从左边进来,通过一系列电阻分压将一个信号分成很多份,用比较器与参考电压相比较,就可以得到模拟信号是在哪个范围,用优先编码器对这些比较结果进行编码即可输出为数字信号。图中的比较器由下到上对应的电压从高到低,可近似量化模拟信号。
优点:快,电流进来过几个电阻,一级比较器,加一个编码器就可以得到数字信号,速度非常快。
缺点:精度有限,体积较大,比如一个8位的Flash ADC,我们需要255个比较器,每多一位需要的比较器会翻倍,一堆输入也会使得编码器设计复杂起来。
Oversampling ADCs
Digitally Assisted Design
参考文献
【1】Kester W. ADC architectures I: the flash converter[J]. Analog Devices Tutor. MT-020 Rev A, 2009.
【2】Kester W. Adc architectures iii: Sigma-delta adc basics[J]. Analog Devices, MT022, 2008.
【3】Kester W. ADC architectures V: Pipelined subranging ADCs[J]. Tutorial MT-024, Analog Devices, Inc, 2008.
【4】Kester W. Understand SINAD, ENOB, SNR, THD, THD+ N, and SFDR so you don’t get lost in the noise floor[J]. MT-003 Tutorial, www. analog. com/static/importedfiles/tutorials/MT-003. pdf, 2009.
【5】Murmann, Boris. The Race for the Extra Decibel: A Brief Review of Current ADC Performance Trajectories[J]. IEEE Solid-State Circuits Magazine, 2015, 7(3):58-66.